
US Patent 11250084
-
Method and System for generating content from search results rendered by a search engine
US 11250084 · Issued Feb 15, 2022
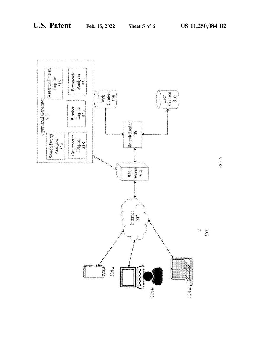
- The present invention provides an optimized generator for generating content from search results rendered by a search engine. In a web browser opened on an operating system, if a user is searching for a parameter on the search engine, the present invention provides options in the search engine to create localized or internationalization portable document format (PDF) file, a word document, an Excel.TM. spreadsheet (XLS), or a PowerPoint.TM. presentation (PPT), instantly.The present invention provides an optimized generator for generating content from search results rendered by a search engine. In a web browser opened on an operating system, if a user is searching for a parameter on the search engine, the present invention provides options in the search engine to create localized or internationalization portable document format (PDF) file, a word document, an Excel.TM. spreadsheet (XLS), or a PowerPoint.TM. presentation (PPT), instantly.
​​
​
Business usecases - Generative AI
​
-
The present innovation is a system that provides users with the power to create, construct and yield a range of multi-modal (Image, Numerical, Video, Text (multi lingual), etc) responses of varying - Topics, Themes, Knowledge Domains, Query-Answer based practices, Solutions, Data articulation – bound by the extent of availability of indexed data from the sphere of the web.
-
The innovation leverages the mechanism of Search Engine functionalities, to then extract and develop repositories or pools of data pertaining to the User’s desired query(ies) and determined requirement(s). After pertinent collection and dumping of data from either defined search engines or a perceived combination of search platforms, the application – reads, analysis, evaluates, examines, comprehends - data semantically. Upon fathoming the data, the system then proceeds to generate optimized and relevant content of variable – size, depth, extent and breadth, summarization formats - adhering to the User’s search query and requirements. Successively, the generated data is then structured, resulting in the system to construct, design, present and visualize curated data onto defined productivity and documentative platforms/formats.
​
​
Practical application of this patent (Business usecases & Core functionalities)
-
Data Summarization
-
Data Generation
-
The practice of data being supported and augmented by search engines/search data, and then used to produce summarized responses
-
Extracting data from Search engines, and collecting them into defined spaces, to further be read and analyzed
-
Semantic analysis of search result data
-
The practice of generating summarized and generated content onto productivity spaces and documentative platforms​​
​
Now many companies are using my patent approach
​
-
Data Summarization & Generation - A plethora of paraphrasing/Summarizing online tools and applications associated to AI companies
​
-
Generated and summarized data augmented/supported/powered by search engines - Open AI’s Search based integration, AI firms powered by Search APIs, Microsoft Bing, Google bard-Gemini & more.
-
AI firms listed above possess integrations and protocols designed to access indexed data from the web, via search engines, to enhance their data, in addition to producing real time data pertinent to user inputs. Furthermore, have also sighted practices of AI models using internal search functionality to sift and read through public and private domains of data, to resultantly produce summaries of queried assets/objects/entities/data
-
​
-
Practice of generating summarized and generated content onto productivity spaces and documentative platforms - Microsoft – copilot integration into MS Office.
-
With the onset of Copilot and its integration into MS office, my patent concept as the workflow of creating searches and prompts via Copilot’s interface and yielding a multitude of summarized and generated responses (paragraphs, images) by the LLMs backed by Bing (Search engine), which in tandem are produced onto their productivity and documentative platforms is of the similar nature as that of our approved patent.
-
More details are in the attached PDF below.
-
​
​
​
​
​
​
​











